07-27-2018, 07:40 PM
To Rgx
Je to bezrailová koncepce tj. railless neboli trackless.
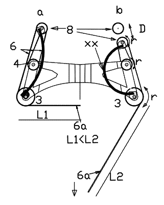
Zajimavý je v tom, že boky slouží jako vedení tětivy, kdežto šíp je, jak píšeš, založen jen vzadu u záchytu a vpředu na dvou kuličkách. Toto řešení vidím vůbec poprvé. Dle mého je to dobře vymyšlené. Tětiva bude klidná a povede šíp s jistotou, ten bude mít zase minimální třecí ztráty. Z obou systémů si bere to dobré. Jak to bude fungovat v praxi ukáže teprve čas. Každopádně patentů na DeanBow bude mít Marcin Dziekan zase povícero, viz. systém ramen v příloze (navíc je na kuši originální systém převodu nátahu, nátahu ráčnou,...).
Je to bezrailová koncepce tj. railless neboli trackless.
Zajimavý je v tom, že boky slouží jako vedení tětivy, kdežto šíp je, jak píšeš, založen jen vzadu u záchytu a vpředu na dvou kuličkách. Toto řešení vidím vůbec poprvé. Dle mého je to dobře vymyšlené. Tětiva bude klidná a povede šíp s jistotou, ten bude mít zase minimální třecí ztráty. Z obou systémů si bere to dobré. Jak to bude fungovat v praxi ukáže teprve čas. Každopádně patentů na DeanBow bude mít Marcin Dziekan zase povícero, viz. systém ramen v příloze (navíc je na kuši originální systém převodu nátahu, nátahu ráčnou,...).

