05-15-2017, 10:05 PM
(Tento příspěvek byl naposledy změněn: 05-15-2017, 10:11 PM uživatelem DanM.)
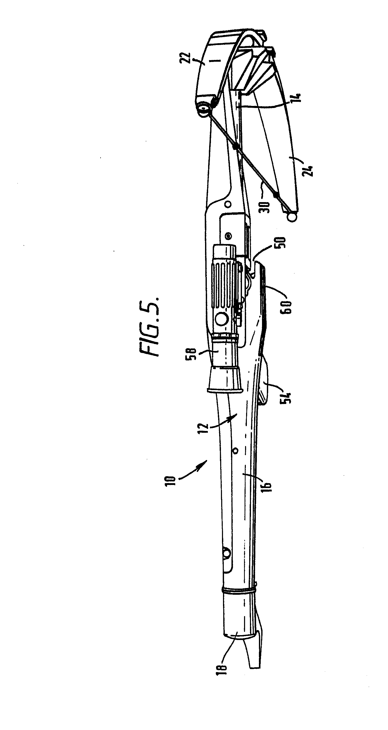
Abych navázal na předchozí příspěvek o vertikální kuši Talisman, zabrouzdám do let osmdesátých, kdy ve Velké Británii vznikla vertikální kuše Oakwood.
Na svědomí jí má vynálezce a konstruktér Ivan Patrick Williams (který je údajně držitelem 2000 různých patentů) a který si společně s firmou Oakwood Sport and Survival Limited mezi lety 1983 a 1985 nechali zapsat a registrovat nejzásadnější patenty na uvedené kuši. Jedná se o vertikální kuši, s bezrailovým uložením šípu a systémem nátahu, který probíhá vestavěnou boční pákou (ta je jinak součástí boku těla kuše). Po odjištění se páka zdvihne do přední polohy a přes systém přepákování posune lučiště s tětivou po vodící trubce vzad k záchytu (kuše se "zkrátí"). Po zachycení tětivy se páka tlakem vzad dolů zpětně zaklapne a zajistí a svým pochybem posune lučiště do své výchozí polohy (nyní již s nataženou tětivou a tím se kuše co do délky i mechanicky "natáhne"). Přes relativně krátkou dráhu nátahu 7,25" (tj. 184 mm) je nátahová síla rovna 200 lb. Pro střelbu s lučištěm ve vertikální poloze je na kuši umístěna tovární optika s integrovaným náklopem. Pokud chtěl uživatel střílet s lučištěm ve vodorovné poloze, musel přetočit kuši o 90°. K tomu sloužila botka pažby, kterou si uživatel mohl otočit taktéž o 90°, vyosená pistolová pažbička v přední části a mechanická kovová mířidla pro tuto osu. Kuše měřila 775 mm, měla rozpětí ramen 686 mm a vážila přibližně 4,4 kg.
https://www.youtube.com/watch?v=CcN6dXslsKA
Zajímavostí je, že si kuše zahrála ve sci-fi seriálu Star Trek jako kuše z kajuty klingonského poručíka Worfa a kapitán Jean-Luc Picard jí použil, aby na lodi zjednal pořádek
To se událo v roce 2369....
Na svědomí jí má vynálezce a konstruktér Ivan Patrick Williams (který je údajně držitelem 2000 různých patentů) a který si společně s firmou Oakwood Sport and Survival Limited mezi lety 1983 a 1985 nechali zapsat a registrovat nejzásadnější patenty na uvedené kuši. Jedná se o vertikální kuši, s bezrailovým uložením šípu a systémem nátahu, který probíhá vestavěnou boční pákou (ta je jinak součástí boku těla kuše). Po odjištění se páka zdvihne do přední polohy a přes systém přepákování posune lučiště s tětivou po vodící trubce vzad k záchytu (kuše se "zkrátí"). Po zachycení tětivy se páka tlakem vzad dolů zpětně zaklapne a zajistí a svým pochybem posune lučiště do své výchozí polohy (nyní již s nataženou tětivou a tím se kuše co do délky i mechanicky "natáhne"). Přes relativně krátkou dráhu nátahu 7,25" (tj. 184 mm) je nátahová síla rovna 200 lb. Pro střelbu s lučištěm ve vertikální poloze je na kuši umístěna tovární optika s integrovaným náklopem. Pokud chtěl uživatel střílet s lučištěm ve vodorovné poloze, musel přetočit kuši o 90°. K tomu sloužila botka pažby, kterou si uživatel mohl otočit taktéž o 90°, vyosená pistolová pažbička v přední části a mechanická kovová mířidla pro tuto osu. Kuše měřila 775 mm, měla rozpětí ramen 686 mm a vážila přibližně 4,4 kg.
https://www.youtube.com/watch?v=CcN6dXslsKA
Zajímavostí je, že si kuše zahrála ve sci-fi seriálu Star Trek jako kuše z kajuty klingonského poručíka Worfa a kapitán Jean-Luc Picard jí použil, aby na lodi zjednal pořádek
To se událo v roce 2369....
