Hodnocení tématu:
  • 1 Hlas(ů) - 5 Průměr
  • 1
  • 2
  • 3
  • 4
  • 5
Malosérioví výrobci kuší, zakázkové stavby, speciální kuše
#31
Nejlevněji jsem jí viděl zde a to za 750 USD
http://www.thecrossbowstore.com/Hickory-...-s/230.htm


Jinak na Amazonu je tuším za 799 USD. Pokud bys jí chtěl dovézt, musíš samozřejmě připočítat dopravu a clo.
Mám kontakt na člověka z Plzně, který je za solidní peníz schopen dovézt z USA nebo Kanady víceméně cokoliv.
Odpovědět
#32
Plus ďalšie veci k tomu potrebne..budem daleko od pravdy ak to v konecnom dosledku vyjde na tisicku?
Odpovědět
#33
Abych splnil a překročil plán, je mým úkolem vám představit velice zajímavé kuše od našich bratří z Ruska  Wink
Je veliká škoda, že se k nám dostane tak málo informací z východu a to i přes to, že je tamní výroba pestrá, zajímavá a kuše zde mají dlouhou tradici.
Dle dochovaných nálezů a kronik zde byly kuše využívány již ve 12. století. I když staletí minula, kuše je brána stále za výkonnou a nebezpečnou zbraň a tvrdá ruka ruského zákona vidí zbraně mezi řadovými obyvateli jen velice nerada a proto se je snaží na základě Federálního zákona o zbraních z roku 1996 jak jen může omezovat a zakazovat. Taková nařízení neplatí mezi mechanickými zbraněmi snad jen pro kuše s maximální napínací silou do 20 kg (cca  44 lb). Ty mohou být volně prodávány, může s nimi být stříleno na volných prostranstvích a mohou se bez nutnosti povolení převážet po celé ruské federaci. Tato skupina volnočasových a sportovních kuší je hojně podporována i jako výchovný prostředek mládeže s heslem „Kuše sportu: Od nejstarších dob až na Olympiádu“. Výhodou této třídy je skutečnost, že relativně malá napínací síla kuše, nabízí možnost zapojit do střelby všechny věkové skupiny dětí, ženy. V tomto případě může být kuše dobrou formou zábavy na pikniku s přáteli, na výletě mimo město nebo při střílení u rodinného domku. Největší důraz se ale klade na sportovní střelbu, kterou lze s takovou kuší provádět až na vzdálenost 25 metrů. Pro mládež jsou pořádány soutěže v terčové střelbě na 18 metrů (identické s halovou střelbou z polní kuše na 18 metrů), kde se mladí učí zvládnout veškeré střelecké dovednosti a vyrůstá z nich nejen budoucí střelecká reprezentace pro rozličné disciplíny, ale dělá to z nich lepší a zdravější jedince. V Rusku plném nařízení v tom vidím i jasnou snahu mít slušnou a dobře trénovanou základnu pro střelce v armádě, přičemž zbraně jako takové, které jsou k trénování potřebné, nejsou pro vládnoucí garnituru nijak nebezpečné...
Ale to už bych odbočoval hodně mimo téma...

Jedním z nejvýraznějších výrobců takových kuší je ruská firma Arlet založená v polovině devadesátých let minulého století v Moskvě.
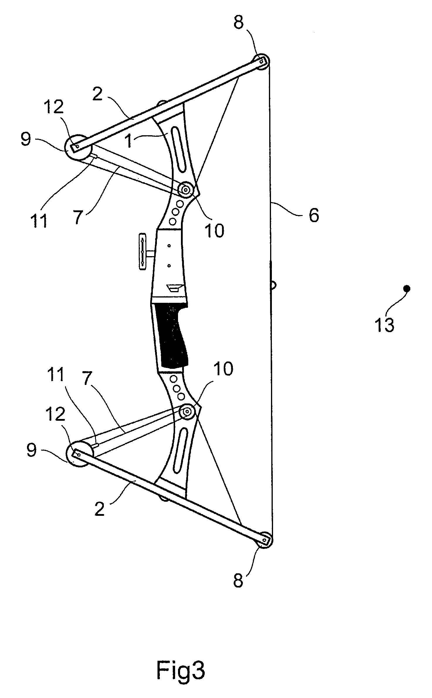
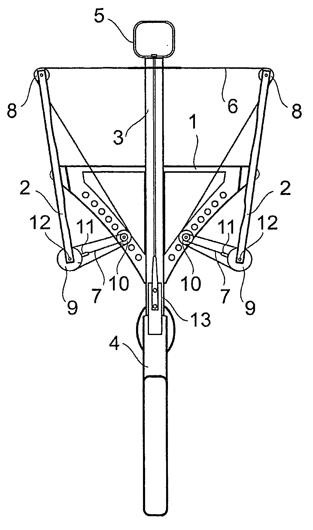
Ta má ve výrobním programu na pět typů kuší této kategorie. Historickou, polní s dioptrickými mířidly, klasickou s dioptrickými mířidly a dva typy klasické kuše osazené optikou jež se vzájemně liší typem ramen a délkou nátahu. Ten se pohybuje od 8,3" (210 mm) do 12,2" (310 mm). Delší nátah využívají především sportovní typy. Délky tětiv od 740 do 820 mm (relativně široká ramena). Váha kuší se pohybuje od 2,5 kg do 4 kg. Z kuší lze střílet šípy o průměru 6 i 8 mm. ( Více viz. výrobní program). 

http://www.arlet.ru/arbalet.html

Všechny kuše z výrobního programu se vyznačují ručním a velice pěkným zpracováním, použitím kvalitních materiálů - dural, sklolaminát, karbon a kvalitní dřevo na nádherně zpracované pažby (mahagon,turecký ořech,...), včetně možnosti rytin a personalizace dle přání zákazníka.


   
   

Od toho se odvíjí i výsledná cena, která může začínat od cca 18 000,- rublů až po 56 000,- rublů ( cca 7 500 - 23 500,- Kč). Výrobce kuši nabízí jako skvělý dárek na vystavení či střílení, tak jako kvalitní sportovní náčiní. Obojí je bezpochyby pravdivé, jak velice vzhledná kuše, tak i výsledky, jaké s nimi střelci na soutěžích dosahují. Výrobce nabízí i širokou škálu příslušenství od náhradních tětiv a ramen až po různé druhy optických zaměřovačů.

   

   
   

   
   

Zde vyobrazený model Arlet AD-2 prodávaný jako krásný bazarový kus s běloruskou optikou VOMZ Pilad
za 6.999,- rublů (cca 3 000,- Kč!!!  Cry )

   
   
   
   
   

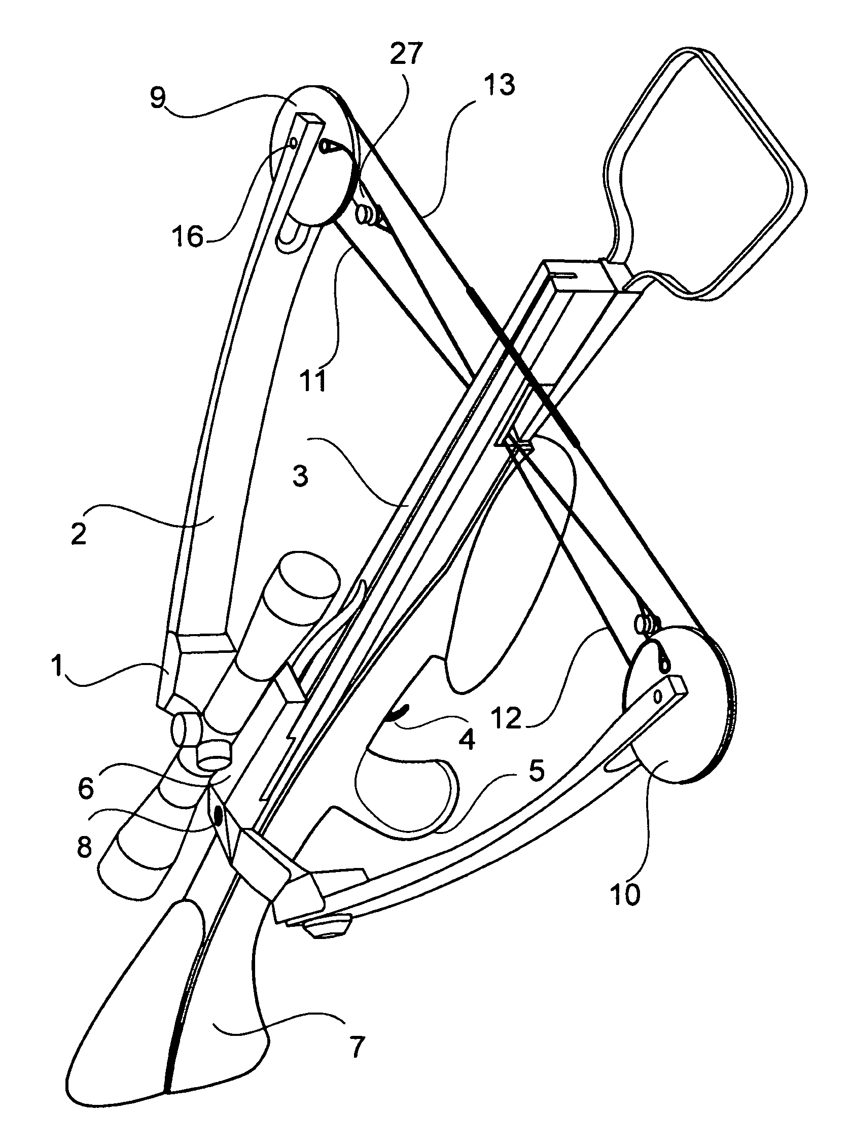
Firma Arlet se stala v Evropě známou ale tím, že konstruktér Sergei Nikolaevich Nizov, jako první (na základě návrhů Leonarda Da Vinciho), navrhl a patentoval kuši z reverzními rameny. 

   
http://www.arlet.ru/Exotic.html


Za tu dostala firma Arlet na výstavě vynálezů v Bruselu v roce 1995, zlatou cenu, stejně jako mnohá další ocenění po světě a právem sklidila obdiv na evropských výstavách IWA Show 2001 a 2002. 

Jak mnozí z vás tuší, tato kuše i značka vzhledem ke špatným exportním podmínkám zbraní z Ruska, omezením výkonů a tím pádem i malým domácím trhem s nízkou kupní silou, dala vzniknout společnosti Armcross, která začala v Německu vyrábět první produkční reverzní kuši Armcross LeoPro. Ale o té až v dalším samostatném článku...
Odpovědět
#34
Opět super čtivo s parádními informacemi. O ruské scéně nevím vůbec nic. Věděl jsem akorát o tom omezení a na to jsem přišel jen díky videím na y2b, kdy střelci proháněli šípy chronem a ukazovalo jim to velmi malé hodnoty.
Odpovědět
#35
To Spitamen: Ahoj, musím se omluvit, že jsem neragoval na Tvůj příspěvek. Psal jsem článek a mezitím, co jsem ho postoval jsi napsal, takže jsem jej neviděl.
Ta cena u Hickrory Creek je za základ, nicméně dost dobrý základ. Je odzkoušený a odladěný výrobcem. Vždycky můžeš něco dokoupit, vylepšit,... Ať je to lepší náklop, optika, různé tlumiče,... Ale takto můžeš vylepšit jakoukoliv sériovou kuši a cena půjde nahoru i u nich. Je tedy potřeba porovnávat základní prodejní cenu a to, co za ní kuše nabízí. No a v tomhle případě je Hickory Creek velmi zajímavé náčiní... 

To KOŘEN: Ahoj, díky! Mám v plánu ještě reporty o dvou ruských výrobcích. Jeden z nich vložím dnes večer, tak se má(š)te na co těšit.
Odpovědět
#36
Danne..to je uplne v pohode..je to naozaj lakavy kusok..aspon viem naco sa zamerat,az mi system prestavby v ramci najvyssieho dobra neumozni dalej pouzivat mojich smradlavych,hlucnych milasikov..ta kuska je naozaj lakadlom..do voza aj do koča.
Odpovědět
#37
Jak jsem naznačil v předchozím článku, ruská legislativa, co se týče zbraní vč. zbraní mechanických je silně restriktivní nejen co do omezení výkonů a vlastnictví, ale i pokud jde o vyvážení kuší do jiných zemí. Mladá ruská společnost Armcross, jenž vznikla v roce 2006 a byla pokračovatelem bývalé firmy Fortes (která prodávala a distribuovala kuše Arlet), bohužel neviděla žádnou jinou možnost jak se těmto omezením vyhnout, než přesunout výrobní závod na komerčně přijatelnější půdu. Nalezla nový domov v Německu, jen pár minut jízdy od Düsseldorfu. Tedy v zemi se silnou ekonomikou, která je středem evropského obchodu a nabízí mnoho příležitostí jak v dopravě, tak ve výrobě. Stejně tak je příznivá pro výrobu i prodej mechanických zbraní.

Společnost Armcross GmbH vedl Thomas Kahlhardt, který byl zodpovědný za výrobu, prodej a kvalitu produktů a měl na starost práci s globálním týmem dislokovaným na čtyřech kontinentech. Některé části pocházejí z USA, některé jsou vyráběny v Německu a jiné na Tchaj-wanu a Číně. Návrhářský tým pod vedením konstruktéra a vynálezce Pavla Vitalieviche Ivanova sídlí v Moskvě. To je další z řady špičkových ruských konstruktérů (Sergei Nizov, Sergey Olegovich Popov, Sergey Anatolievich Gokovatyy), jež má na svědomí mnoho zásadních inovací a patentů v oblasti mechanických zbraní. Například předsazená tětiva na kladce, prodlužující délku nátahu a tak pozitivně ovlivňující výkon kuše, zmiňované reverzně uložená nátahová ramena,...
Viz. galerie níže.

           
           

Pavel Ivanov
   


Vývoj již probíhal pomocí 3D CAD programů a jednotlivé mechanické součásti byly navrženy, analyzovány, sdíleny a diskutovány s výrobními a montážními týmy pomocí videokonferencí a vysokorychlostního připojení k internetu. 

Design má na svědomí průmyslový designer Mikhail Andreev a konečný prototyp byl realizován spolu s designovým ateliérem "Redindesign". Viz. foto renderů a 3D modelů...

           

Firma Armcross pak v roce 2007 přilákala svým finálním produktem velkou pozornost na výstaě IWA, když představila první produkční kuši s reverzními rameny Armcross LeoPro.

Jeden z návštěvníků a novinářů k jejímu vzhledu podotkl:

„Když jsem v roce 2007 poprvé uviděl LeoPro na výstavě IWA, byl jsem prostě ohromen, byla to láska na první pohled. LeoPro je stejně sexy jako auto navržené Pininfarinou...“ 

Nekonvenční vzhled šel mezi dobovou produkcí asi jen těžko přehlédnout. Navíc byly první kusy pro reklamní účely vyvedeny ve výrazných barvách ve vzoru pruhů. 


           

Až produkční kusy bylo možné mít v několika kamuflážních odstínech.
           


Dalším překvapením byla snadná manipulace s kuší. Nejen dobrá ergonomie a malé rozměry, ale i rozložení hmotnosti kolem 3,6 kg, soustředěné v blízkosti pistolové rukojeti ve středu zbraně. Pocitově pak kuše působila ještě lehčeji. Velice pěkné bylo i zpracování a jednotlivé komponenty zbraně. Pažba byla vyrobena z ABS plastu vyplněného skelným vláknem (15%) a je spojena s tělem kuše tak, aby nebyly vidět žádné šrouby, které by narušily ergonomicky tvarované linie. Většina kovových součástí je vyrobena z eloxovaného hliníku (7075), který poskytuje pevnost a přitom zůstává lehký. Ramena byla vyráběna v USA společností Gordon Composites Inc., (známou firmou a autoritou v této oblasti), kladky a lanovody byly taktéž vyráběny v USA.
Při drobných rozměrech a váze nabízelo LeoPro na tu dobu slušný výkon:

Při síle nátahu 175 lbs a jeho délce 13 ", vystřelilo šíp o hmotnosti 420 grainu (27,2 g) rychlostí 305 fps (93 m/s). To představuje energii téměř 118 joule. Odpor spouště byl nastaven na 3 libry (1,36 kg). Konstrukce kuše LeoPro je chráněna dvěma patenty. Americký výrobce Horton pak začal s výrobou reverzních kuší RECON 175 a VISION 175 na základě licence společnosti ARMCROSS.

Armcross dodával ke kuši mnoho příslušenství včetně batohu nazývaného Igel-Fix, který umožňoval, nejen lovcům, transport veškerého vybavení a kuše včetně příslušenství s možností mít obě ruce volné, moci snadno lézt na posedy,stromy, skály,.... Byl měkký, ale zároveň pevný, aby nedošlo k poškození vybavení v něm, což bylo demonstrováno i procházení se po něm, aniž by to mělo nějaký dopad na jeho obsah. Kompletní kuše včetně Igel-fixu byla nabízena za 1 599,- EUR.

           

 
Zajímavostí je, že ve výrobním programu byla i normální kladková kuše s klasickými rameny. U ní byly taktéž použité kladky s předsazenou tětivou, stejně jako u exotičtějšího LeoPro. (malá paralela se současným výrobním programem Horton Crossbow Innovations...)
           



Smutnou zprávou je, že po několika letech na trhu firma Armcross zavřela své brány. Jestli to bylo neuchycením se na globálním trhu zejména v USA a Kanadě nevím, každopádně se tyto kuše bez jakéhokoliv pokračovatele již dále nevyrábí. Nefungují již ani jejich webové stránky, což je velká škoda.Bylo zde k vidění mnoho zajímavých fotek a údajů ke čtení.


Dnes je možno na německých aukčních fórech jako www.egun.de a dalších občas narazit na kompletní LeoPro včetně loveckého batohu, někdy i náhradní díly.

   


Každopádně šlo o velice zajímavý projekt, který přinesl něco nového, obohatil trh, vyburcoval konkurenci a jeho duch dodnes přežívá v nových typech reverzních kuší. 
Odpovědět
#38
No vida, člověk se dozví spoustu zajímavých informací. Je fajn, že to sem píšeš, protože je to tu hezky po kupě. Hledat střípky těchto informací muselo být zdlouhavé (ostatně i psaní článků), ale jsem rád, že si najdeš čas a sepisuješ to sem. Nu a podle sledovanosti vlákna nejsem určitě jediný, koho to zajímá. Nechci ti to tu plevelit, ale vím, jak člověka potěší, když mu někdo zareaguje na příspěvek, se kterým se fakt piplal a mohl ten čas vynaložit úplně jinak. Takže ode mě máš palec nahoru a velký dík  Wink 

A možná jedna taková myšlenka, která mě při čtení napadla. Je fakt zajímavé, jak se během posledních dejme tomu deseti let změnily jednak vzhledy, velikosti, tvary, ale také výkony kuší. Jsem zvědavý, kam to bude směřovat v příštích letech. Už takhle mají ty kuše energie až až a zvyšování rychlosti šípu má snad jen výhodu v ploché balistické křivce, takže lov (kvůli kterému jsou na západě převážně kuše vyráběny) je potom "jednodušší". Ale 330 nebo 400 FPS - zvíře nepocítí rozdíl...
Odpovědět
#39
To KOŘEN:
Ještě jednou díky! Mám radost, že to někoho zajímá a baví. Já jsem totiž za poslední léta nashromáždil obrovské množství fotek, článků, odkazů a informací o různých kuších. To, že tomu dám nějakou formu mi pomáhá tato data utřídit a dát jim nějaký smysl. Pokud se o ně navíc mohu podělit a diskutovat o nich s ostatními nadšenci je to ještě lepší. Píši po nocích, kdy mám trochu času. Přes den nebo když si na něco vzpomenu, udělám jen pár poznámek nebo osnovu, jak bude článek vypadat a co chci vlastně sdělit. Jinak neplevelíte nikdo nic. Naopak uvítám jakýkoliv dotaz nebo naopak zajímavost z vaší strany.
V dohledné době doplním ještě jednoho ruského výrobce a pár zajímavých domácích staveb. Jinak v hlavě už mám mnoho dalších nápadů na další články  Wink
Odpovědět
#40
Pripajam sa k citatelom, ktorych tieto clanky z historie vyvoja kusi zaujimaju a ak bude niekedy vhodna prilezitost, rad by som videl tieto rozne dnes uz raritne kuse aj v akcii, na nejakej sutazi aleo exhibicii. Ked som chodil po muzeach alebo roznych hradoch a zamkoch, videl som tam odpocivat v skelnych vitrinach aj tie stredoveke kuse ako predchdcov planych zbrani a uz v tej dobe to boli mechanicky velmi precizne skonstruovane a vykonne zbrane pre lovecke aj vojenske pouzitie, ale tieto novodobe z 20. a 21. storocia, co zacali pouzivat kladky a najmodernejsie materialy su skutocne jedinecne kusky.
Odpovědět


Přejít na fórum:


Uživatel(é) prohlížející toto téma: 4 host(ů)